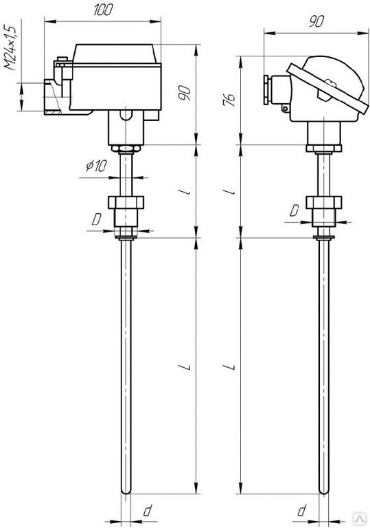
Термосопротивление ТСМ/ТСП-106Ехd (Exi), цена в Перми от компании БРИКО ...

Термосопротивление ТСМ/ТСП-106Ехd (Exi), цена в Перми от компании БРИКО ...