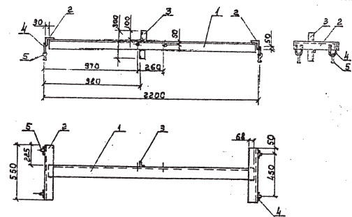
Траверса ТМ-22 (3.407.1-143.8.21) 40,80 кг

Траверса ТМ-22 (3.407.1-143.8.21) 40,80 кг