Асинхронный двигатель - YouTube
Асинхронный двигатель - презентация онлайн
Асинхронный двигатель - online presentation
Асинхронные двигатели - презентация онлайн
Асинхронный электродвигатель | Technology, Tools
Купить Асинхронный двигатель с электромагнитным...
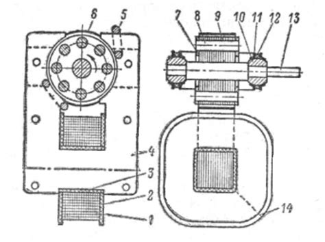
Устройство асинхронного двигателя АД | Электрикам
Специальные типы асинхронных электродвигателей
Диммер своими руками - регулятор мощности на си...
III. Схема замещения и векторная диаграмма асин...
Управление асинхронным двигателем - YouTube
Испытание асинхронного двигателя
3) Энергетическая диаграмма асинхронного двигателя
Расчет асинхронного двигателя
Регулятор асинхронного двигателя Всем здравству...
Методика расчета асинхронного двигателя.
Применение асинхронных двигателей в промышленно...
Пуск и защита Асинхронного двигателя - YouTube
Асинхронный двигатель с короткозамкнутым роторо...