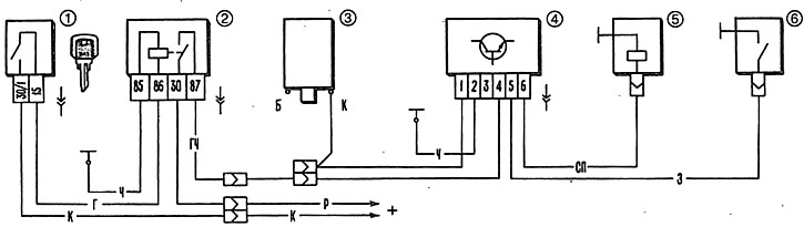
Система управления электромагнитным клапаном карбюратора (ВАЗ-21213 ...

Система управления электромагнитным клапаном карбюратора (ВАЗ-21213 ...