Чем отличается УЗО, дифференциальное реле и диф...
Шаровой автомобильный дифференциал. Дифференциа...
Дифференциальное реле с торможением | FaultAn.ru
Реле | это... Что такое Реле?
Дифференциальное тепловое реле нагрузки Schneid...
10.4. Дифференциальные реле с торможением
Дифференциальное реле давления Bosch Buderus це...
Дифференциал. стоковое фото. изображение насчит...
4.1 Дифференциальные реле.
competitors
Как работает дифференциал - видео работы
Что такое реле
Дифференциал. Применение дифференциала к прибли...
Реле дифференциального давления (РДД)
Что такое реле: виды реле, конструкция, где при...
PPT - Дифференциал PowerPoint Presentation, fre...
Что такое дифференциал и как он работает
Дифференциалы. Необходимость использования дифф...
Дифференциальное реле РДЗ-068 ЭТ электровоза 2ЭС6
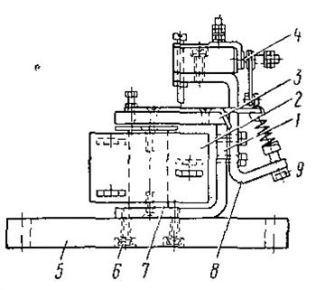
Дифференциальные реле д-4в
2.2.2. Реле Общие сведения и классификация реле
9.Дифференциатор
Дифференциальное реле EFI-4 40/0,3 AС | GREENEL...
Реле дифференциальное. Дифференциальная защита
Что такое дифференциал и для чего нужны блокиро...
Реле [База знаний]
Диференціальне реле: призначення та сфера засто...
Дифференциальное реле вагона Т-3
Дифференциал: что это такое
Реле Дифференциальное (УЗО) EFI-P4 AC 63/0.03 —...
Реле дифференциальное, перепада давления LF32-0...